- chevilleur bois avec repère de perçage pour tourilons de 6, 8 et 10 mm et bride de serrage d'une épaisseur de 12 à 30 mm pour une grande adaptation en fonction des travaux engagés
- inclus : foret à bois de 8 mm avec butée de profondeur et 40 tourillons pour démarrer immédiatement le projet
- serre-joint réglable pour fixation à plat et sur chant de la planche de bois à assembler
- Rainures de guidage adaptées à chaque taille de tourillons permettant de retirer la cheville qui a déjà été enfoncée pour le positionnement exact des trous d'assemblage des assemblages en T
Kit universel d'assemblage bois
Pour des trous d'assemblage précis, sans mesure ni répérage d'alignement compliqué
- kit permettant le serrage, le perçage et le chevillage sans mesure, ni marquages préalables
- chevilleur bois avec repères de perçage pour chevilles de 6, 8 et 10 mm et bride de serrage d'une épaisseur de 12 à 30 mm
- avec foret à bois de 8 mm de diamètre butée de profondeur et 40 tourillons
Prix
50,95€
TTC
Minimum de commande de 25,00 €
Livraison gratuite à partir de 49,00 €
Retours offerts pendant 14 jours
Impossible de charger la disponibilité de la réception
Kit permettant le serrage, le perçage et le chevillage sans mesure, ni marquages préalables
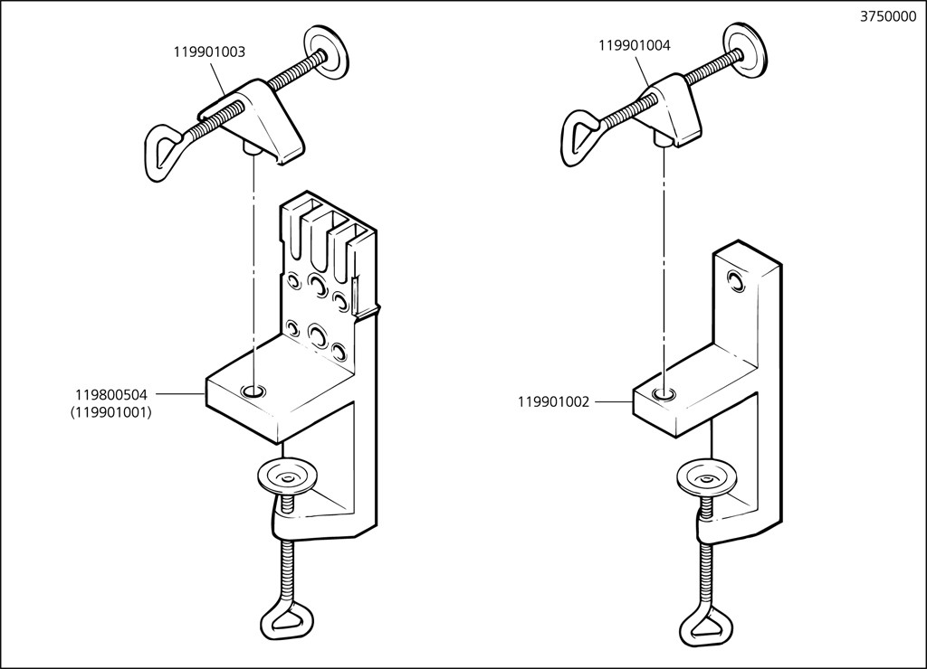
Le kit d'assemblage universel de wolfcraft comprend un guide de perçage, une bride de serrage, un foret à bois de 8 mm, une butée de profondeur et 40 tourillons C'est l'outil parfait pour tous les assemblages plats, en angle et en T. À l'aide du guide de perçage et de la bride de serrage, serrez la première planche à percer sur l'établi. Positionnez la deuxième planche à plat ou sur le chant à l'aide des 2 serre-joints réglables. Le guide de perçage sert non seulement de bride de serrage, mais également de gabarit de perçage. Avec ses deux repères de perçage superposés pour chevilles de 6, 8 et 10 mm, il permet de percer en une seule opération des trous symétriques sur 2 planches. De plus, il existe pour chaque taille des 3 tourillons une rainure de guidage permettant de retirer la cheville qui a été enfoncée. Ainsi, un positionnement exact des trous d'assemblage pour les assemblages en T est par ex. possible. La profondeur des trous percés dans les planches en bois ne doit pas dépasser 2/3 de l'épaisseur de la planche. C'est pourquoi le kit contient une butée de profondeur permettant de percer à la profondeur souhaité ! Elle vous permet de régler la profondeur de perçage de manière fiable.
assemblages à plat
Pour les assemblages à plat, superposez deux planches sur l'établi et serrez-les avec les chevilles et les deux serre-joints. Grâce aux repères sur les gabarits de perçage superposés, vous obtenez des trous correspondants très précis sur les chants avant.
Assemblages en angle
Pour les assemblages en angle, enfoncez le serre-joint réglable, ce qui permet de fixer la deuxième planche perpendiculairement. Vous pouvez percer le trou dans la première planche et le trou symétrique dans la deuxième planche. La butée de profondeur fournie garantit un perçage à la bonne profondeur. Le guide de perçage peut ensuite être déplacé le long du chant de la planche, jusqu'au perçage suivant. Enfin, placez la bride de serrage de l'autre côté, de telle sorte que le guide de perçage détermine le trou extérieur avec symétrie.
Assemblages en T
Pour les assemblages en T, collez d'abord le tourillon dans le chant de la première planche. Vous reportez ensuite la position de la planche au crayon sur le chant latéral, tandis qu'un repérage sur le guide de perçage indique la distance entre le fond et la ligne marquée au crayon. Il suffit maintenant de faire glisser la rainure de guidage sur le tourillon et la position exacte des contre-trous. Percer, coller, terminé – il n'a jamais été aussi facile de faire des assemblages par tourillons.
assemblages à plat
Pour les assemblages à plat, superposez deux planches sur l'établi et serrez-les avec les chevilles et les deux serre-joints. Grâce aux repères sur les gabarits de perçage superposés, vous obtenez des trous correspondants très précis sur les chants avant.
Assemblages en angle
Pour les assemblages en angle, enfoncez le serre-joint réglable, ce qui permet de fixer la deuxième planche perpendiculairement. Vous pouvez percer le trou dans la première planche et le trou symétrique dans la deuxième planche. La butée de profondeur fournie garantit un perçage à la bonne profondeur. Le guide de perçage peut ensuite être déplacé le long du chant de la planche, jusqu'au perçage suivant. Enfin, placez la bride de serrage de l'autre côté, de telle sorte que le guide de perçage détermine le trou extérieur avec symétrie.
Assemblages en T
Pour les assemblages en T, collez d'abord le tourillon dans le chant de la première planche. Vous reportez ensuite la position de la planche au crayon sur le chant latéral, tandis qu'un repérage sur le guide de perçage indique la distance entre le fond et la ligne marquée au crayon. Il suffit maintenant de faire glisser la rainure de guidage sur le tourillon et la position exacte des contre-trous. Percer, coller, terminé – il n'a jamais été aussi facile de faire des assemblages par tourillons.
Contenu de l'emballage
1 guide de perçage
1 pince de serrage
1 foret à bois hélicoïdal de 8 mm de diamètre
1 butée de profondeur de 8 mm
40 tourillons de 8 mm
1 pince de serrage
1 foret à bois hélicoïdal de 8 mm de diamètre
1 butée de profondeur de 8 mm
40 tourillons de 8 mm
| Épaisseur de planche | 12 - 30 mm |
